
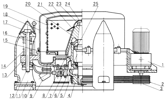
[ 型號 SX800-1200 ]產品特點與用途: SX型三足式人工下部料離心機為三足式人工下部料間歇操作的離心機,該系列離心機具有結構簡單,性能可靠,操作維修方便,卸料比SS型較省力,過濾時間可隨意掌握,濾渣能充分洗滌,固相顆粒不易被破壞等優點。廣泛用于化工、輕工、醫藥、食品等行業。 結構與原理: 調速電動機帶動轉鼓旋轉,調節轉速至中速,物料由上部加入轉鼓以布料盤均勻灑布到轉鼓壁,升至高速,在離心力作用下,液相穿過濾布和鼓布壁濾孔排出,固相截留在轉鼓內,停機后由人工鏟除或抖動濾袋,使固相松散后從下部排出。 離心機結構圖:


技術參數:

訂貨須知: 針對不同的分離要求,我們設計了相應型式供客戶選擇,因此客戶在訂貨時,可對以下情況作出確認: 材質:與物料接觸部分的材料可為不銹鋼、鈦合金、碳素鋼或襯橡膠、襯塑料等。驅動方式:普通異步電動機、隔爆型異步電動機、電磁調速電動機或變頻調速等。其它要求。